苹果新专利揭示其 XR 头显或可用于提供未来科学教育课程
2023-03-02
近日,欧洲专利局发布了一份苹果的专利申请,该专利与他们在学校的未来科学课程中使用的 XR 头显有关。

苹果首先指出,各种电子设备可以为用户提供一种扩展现实体验,将渲染的 3D 图形(如虚拟对象)集成到由相机捕获的物理环境的实时视频流中。在某些情况下,用户可能希望基于物理环境中对象的物理属性提供计算机生成的视觉效果,以提供知识领域的可视化。
例如,在扩展现实环境中提供基于现象的思维体验,以更好地吸引学生。基于现象的思维体验可以提供不同的视角来提高理解,为学习者提供接触的广度,并为学习者提供一个互相传授和共同总结共享经验的机会,以发展社会能力的同时掌握和内化知识。
苹果的专利涵盖了在一个 XR 环境中提供沉浸式体验(例如学习体验)的设备、系统和方法。例如,该体验可以提供不同的演示模式,对于不同的知识/科学领域,提供不同的可视化层来说明不同的科学概念。
XR 环境的每个可视化层都有基于场景理解而提供的虚拟内容,例如,哪些对象是木材,哪些对象是金属等。
例如,在电场域中,可以提供可视化来说明 Wi-Fi 信号的效果。
例如,可以从 Wi-Fi 源提供虚拟电磁波,电磁波的视觉效果也可以是根据物体(如木材、金属、玻璃等)的物理特性改变的。
在另一个例子中,化学知识领域可以说明对象在环境中相互作用时的特性。在某些实施方案中,物理环境的属性可以被确定并用于提供体验。例如,可以估计吸收、周围环境等的辐射特性,并用于提供基于这些属性说明科学概念的体验。在 XR 环境中可以提供沉浸式学习体验,以提供现象驱动的学习体验,使用增强的表示能力来可视化不可能的学习场景,这可以提高学习效果并改善对困难概念的理解能力。

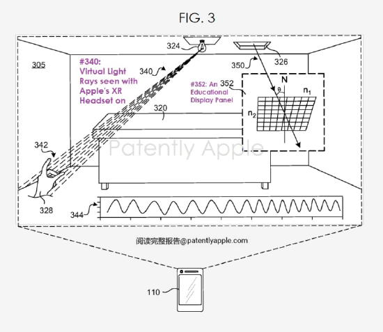
苹果专利图 3 包含了与特定科学领域相关的知识领域(如光学和光折射)的演示模式特性相对应的内容。
苹果指出视图#305 所示的演示模式显示了从表征#324(例如,一个光源,如房间里的中央照明灯具或灯泡)传播的光线#340,以及从表征#326(例如,一个光源,如通过天花板天窗照射的阳光)传播的光线#350。
例如,与视图#305 相关的演示模式可能包括一种教育体验,为用户说明在沉浸式学习体验中,如果能看到光束会产生的效果。
虚拟光线#340 可以从光源(例如,光源的表示#324)提供,并且用户可以通过将手(例如,表示#328)移动到光线#340 中来获得光线的视觉效果。例如,光束#340 被用户的手#328 吸收,如#342 区域所示。此外,可以呈现一个教育显示板#344,以图形方式说明光线#340 的波长。
苹果的专利图 3 进一步包括了与光学和光折射相关的科学领域的另一个例子。例如,光射线#350 从表示法#326 传播(例如,光源,如通过天花板天窗照射的阳光)。如在视图#305 中所示的演示模式进一步示出了基于光射线#350 的教育显示面板#352。特别是,教育显示面板#352 说明了斯奈尔定律,该公式用于描述入射角θ和折射角之间的关系,当提到光或其他波通过两种不同的各向同性介质之间的边界,如水、玻璃或空气(例如,阳光射线通过代表#326,天窗)。
原文来自http://vr.sina.com.cn/news/hot/2023-03-02/doc-imyincct7853583.shtml
VR头显真的需要到180Hz吗?
2020-05-13
前HTC CEO周永明发布了一体式VR头显Mova
2020-05-27
数字化虚拟景区:未来必然趋势
2020-05-15
全球首次!圆周率科技5G+VR直播带你“云登顶”世界屋脊
2020-05-28
iPad Pro:HoloLens 2第三人称视角的最佳解决方案
2020-05-13